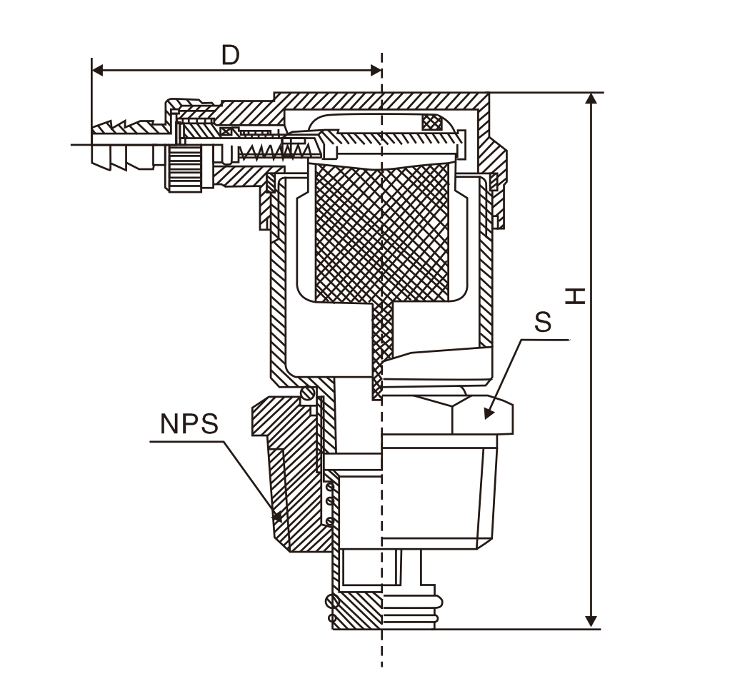
主(zhu)要外形尺(chǐ)寸
|
DN(mm) |
NPS(in) |
H |
D |
G |
SW |
|
15 |
1/2 |
76 |
47.5 |
1/2 |
22 |
|
20 |
3/4 |
78 |
47.5 |
3/4 |
27 |
|
25 |
1 |
79 |
47.5 |
1 |
33.5 |
蘇公(gōng)網安備 32010202011315号(hao)
• •›